一種間接降低電機功率的預旋盆
技術領域
[0001]
本實用新型屬于預旋盆技術領域,具體涉及一種間接降低電機功率的預旋盆。
背景技術
[0002]
目前的泵在運行過程中,都是從渦殼直接吸水,其工作原理:在打開水泵后,葉輪在泵體內做高速旋轉運動(開泵前要使泵體內充滿液體),泵體內的液體隨著葉輪一塊轉動,在離心力的作用下液體在出口處被葉輪甩出,甩出的液體在泵體渦殼內速度逐漸變慢,液體被甩出后,葉輪中心處形成真空低壓區,液池中的液體在外界大氣壓的作用下,經吸口流入水泵內。泵體渦殼的容積是一定的,隨著被甩出液體的增加,壓力也逐漸增加,***后從水泵的出口被排出。液體就這樣連續不斷地從液池中被吸上來然后又連續不斷地從水泵出口被排出去。這就是葉輪把液體從速度0加速到合適速度的過程,也就是相應的電機做功的過程(即電機的運行功率),在這個過程中葉輪始終與污水接觸導致葉輪易被污水侵蝕降低葉輪使用壽命。
[0003]
另泵在運行過程中周邊會有很多浮渣,泵需要強有力的自吸能力才能把浮渣吸走,會產生更多的電機做功,增大電機功率。
實用新型內容
[0004]
本實用新型的目的在于提供一種間接降低電機功率的預旋盆,以解決上述背景技術中提出的泵在運行過程中周邊會有很多浮渣,泵需要強有力的自吸能力才能把浮渣吸走,會產生更多的電機做功,增大電機功率的問題。
[0005]
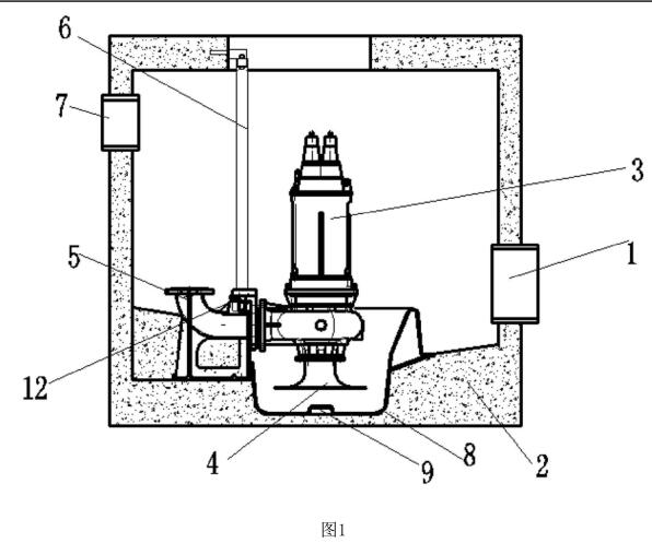
為實現上述目的,本實用新型提供如下技術方案:一種間接降低電機功率的預旋盆,包括井式泵站,所述井式泵站內安裝有泵,所述泵的下方安裝有虹吸管,所述虹吸管通過螺栓與泵固定連接,所述泵的左側安裝有導爪,所述導爪通過螺栓與泵固定連接,所述導爪的左側安裝有出水支撐座,所述出水支撐座的上方外壁在靠近泵位置處安裝有導向桿,所述導向桿外套設有導靴,且導向桿的上方安裝有導向桿固定架,所述導向桿通過螺栓與導向桿固定架固定連接,所述泵通過導爪從導向桿自上而下掛在出水支撐座上,所述出水支撐座通過地腳螺栓與井式泵站固定連接,且出水支撐座的一側安裝有出水管,所述出水管通過法蘭與出水支撐座固定連接,所述虹吸管的下方安裝有預旋盆,所述預旋盆通過水泥灌漿與井式泵站固定連接,所述預旋盆的底部中心區域開設有定位孔,且預旋盆的一側外壁與出水支撐座相對應位置處開設有出水口,所述預旋盆的一側外壁在遠離出水口位置處開設有進水口,且預旋盆的底部安裝有底座,所述井式泵站的一側外壁與進水口相對應位置處安裝有進水管。
[0006]
優選的,所述導爪與出水支撐座間有橡膠密封圈密封。
[0007]
優選的,所述出水口的左側安裝有排水管,所述出水口所在位置與排水管在同一平面內。
[0008]
優選的,所述導爪與導靴為一體式結構。
說 明 書
1/3 頁
3
CN 207111454 U
3
[0009]
優選的,所述井式泵站的上方內壁開設有固定槽,所述導向桿固定架通過嵌入固定槽與井式泵站固定連接。
[0010]
與現有技術相比,本實用新型的有益效果是:該預旋盆結構科學合理使用安全方便,且該預旋盆可以使液體在入泵吸水口前達到一定的速度,并提供一定的流入量,這樣不是葉輪把液體從速度0加速到合適速度的過程,而是從一定速度加速到合適速度的過程,不但可以泵送出比普通泵送系統更大的流量,還大大節省了這部分能量,降低了葉輪與污水的摩擦力,提高了葉輪的使用壽命,達到節能降耗的效果;且該預旋盆因設置了渦旋流道,當泵啟動時水通過預旋盆渦旋流道的流量開始增加,開始產生較小的渦旋旋流,隨著葉輪旋轉至***大速度,其渦旋旋流速度越來越快至***大速度,使污水流入量與泵的吸入流量相匹配。也就是在預旋盆內液體形成一個強力的渦旋旋流,會攜卷浮渣、泥砂通過虹吸管被泵吸入并泵送出去,達到清理池底,消除沉積的效果,保證池底清潔,實用性強。
附圖說明

圖1為本實用新型的裝配主視圖;

圖2為本實用新型的裝配俯視圖;

圖3為本實用新型的預旋盆實體效果圖。
[0014]
圖中:1-進水管、2-井式泵站、3-泵、4-虹吸管、5-出水支撐座、6-導向桿、7-出水
管、8-預旋盆、9-定位孔、10-進水口、11-出水口、12-導爪、13-底座。
具體實施方式
[0015]
下面將結合本實用新型實施例中的附圖,對本實用新型實施例中的技術方案進行清楚、完整地描述,顯然,所描述的實施例僅僅是本實用新型一部分實施例,而不是全部的實施例。基于本實用新型中的實施例,本領域普通技術人員在沒有做出創造性勞動前提下
所獲得的所有其他實施例,都屬于本實用新型保護的范圍。
[0016]
請參閱圖1-3,本實用新型提供一種技術方案:一種間接降低電機功率的預旋盆,包括井式泵站2,井式泵站2內安裝有泵3,泵3的下方安裝有虹吸管4,虹吸管4通過螺栓與泵3固定連接,泵3的左側安裝有導爪12,導爪12通過螺栓與泵3固定連接,導爪12的左側安裝有出水支撐座5,出水支撐座5的上方外壁在靠近泵3位置處安裝有導向桿6,導向桿6外套設有導靴,且導向桿6的上方安裝有導向桿固定架,導向桿6通過螺栓與導向桿固定架固定連接,泵3通過導爪12從導向桿6自上而下掛在出水支撐座5上,出水支撐座5通過地腳螺栓與井式泵站2固定連接,且出水支撐座5的一側安裝有出水管7,出水管7通過法蘭與出水支撐座5固定連接,虹吸管4的下方安裝有預旋盆8,預旋盆8通過水泥灌漿與井式泵站2固定連接,預旋盆8的底部中心區域開設有定位孔9,且預旋盆8的一側外壁與出水支撐座5相對應位置處開設有出水口11,預旋盆8的一側外壁在遠離出水口11位置處開設有進水口10,且預旋盆8的底部安裝有底座13,井式泵站2的一側外壁與進水口10相對應位置處安裝有進水管1。
[0017]
本實施例中,優選的,導爪12與出水支撐座5間有橡膠密封圈密封,是為了保證導爪12與出水支撐座5之間的氣密性,且橡膠密封圈還能使導爪12與出水支撐座5安裝更牢固。
說 明 書
2/3 頁
4
CN 207111454 U
4
[0018]
本實施例中,優選的,出水口11的左側安裝有排水管,出水口11所在位置與排水管在同一平面內,是為了使水流排出去時更方便,防止水流排出困難不僅影響泵3的正常運行還增大電機的功率。
[0019]
本實施例中,優選的,導爪12與導靴為一體式結構,是為了使泵3通過導爪12掛在出水支撐座5上時不會出現因導爪12安裝不牢固造成泵3滑動脫落使預旋盆8被損壞影響設備的正常運行。
[0020]
本實施例中,優選的,井式泵站2的上方內壁開設有固定槽,導向桿固定架通過嵌入固定槽與井式泵站2固定連接,是為了使導向桿6通過螺栓與導向桿固定架固定連接時,因導向桿固定架通過嵌入固定槽與井式泵站2固定連接,導向桿6不會滑動脫落造成泵3安裝不牢固,使設備內零件損壞影響設備的正常運行。
[0021]
工作原理:本實用新型使用時,使用者首先建好井式泵站2,之后將預旋盆8正確放置,然后通過定位孔9將預旋盆8進一步定位,然后通過螺釘將預旋盆8固定在井式泵站2底部,其后在預旋盆8的出水口11處安裝出水支撐座5并用膨脹螺栓定位,然后將導向桿6安裝在出水支撐座5上,并將導向桿6通過螺栓與導向桿固定架固定連接,然后將導靴套設在導向桿6上同時將導爪12通過螺栓與泵3固定連接,此時打開泵3(開泵前要使泵體內充滿液體),葉輪在泵體內做高速旋轉運動泵體內的液體隨著葉輪一塊轉動,在離心力的作用下液體在出口處被葉輪甩出,甩出的液體在泵體渦殼內速度逐漸變慢,液體被甩出后,葉輪中心處形成真空低壓區,液池中的液體在外界大氣壓的作用下,經虹吸管4吸入水泵3內,同時通過進水管1注入水,水從進水口10流入預旋盆8當水通過預旋盆8渦旋流道的流量開始增加,開始產生較小的渦旋旋流,隨著葉輪旋轉至***大速度,其渦旋旋流速度越來越快至***大速度,此時較于其他設備是將水從一定速度加速到合適速度的過程,不但可以泵送出比普通泵送系統更大的流量,還大大節省了這部分能量,降低了葉輪與污水的摩擦力,提高了葉輪的使用壽命,達到節能降耗的效果。
[0022]
盡管已經示出和描述了本實用新型的實施例,對于本領域的普通技術人員而言,可以理解在不脫離本實用新型的原理和精神的情況下可以對這些實施例進行多種變化、修改、替換和變型,本實用新型的范圍由所附權利要求及其等同物限定。
以上內容來源于網絡,如有侵權,請聯系王經理 15122650360刪除。



